Cric manual PFAFF STW-V conf DIN 7355 Portanta 10.000 kg

Cod produs: N01905007

  • Produs original Pfaff Silberblau - Quality Made in Germany!
  • Designul cricului din otel permite ridicarea si coborarea sarcinilor de la diferite inaltimi pe intreaga lungime a cricului
  • Gheara reglabila este setata la inaltimea de aplicare corespunzatoare in bara de incarcare
  • Gheara poate fi mutata in orice pozitie de pe sina de reglare
  • Sarcina se sprijina fie pe gheara, fie pe capul cricul de otel
  • Placa de baza robusta pentru un nivel ridicat de stabilitate
  • Nicio reducere a capacitatii pe gheare
Brand: PFAFF SILBERBLAU GMBH

Specificatii


STW-V 100
10000
800
300
1100
40
Raku
46



STW-V_10.png              SCHITA STW-V.png

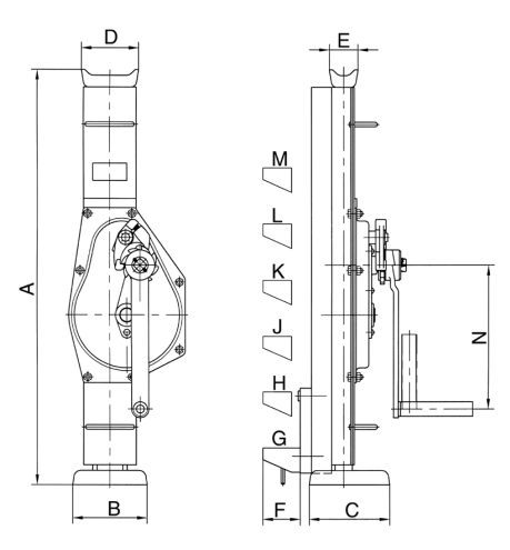
Dimensiuni*

* Va rugam frumos sa selectati, din tabelul de mai jos, dimensiunile detaliate ale modelului prezentat

Model A B C D E F G H J K L M N
  [mm] [mm] [mm] [mm] [mm] [mm] [mm] [mm] [mm] [mm] [mm] [mm] [mm]
STW-V 15 725 130 140 90 50 70 80 Gheara reglabila liber pe bara de sarcina (trepte de 55 mm ) 250
STW-V 30 725 130 140 100 50 70 80 Gheara reglabila liber pe bara de sarcina (trepte de 55 mm ) 250
STW-V 50 725 140 160 110 68 70 80 Gheara reglabila liber pe bara de sarcina (trepte de 55 mm ) 250
STW-V 100 800 140 160 140 76 70 85 191 297 403 509 615 300