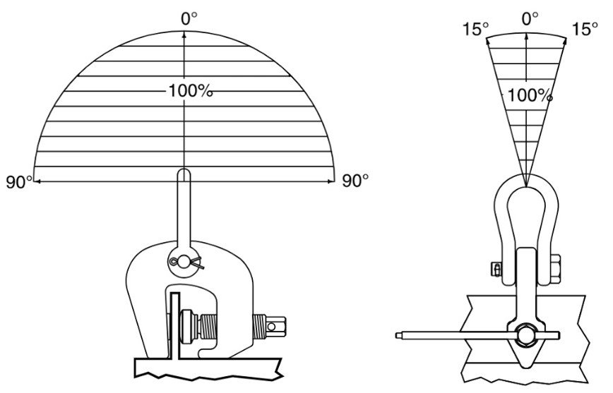
- Cleste cu surub Crosby IPSC10 pentru pozitionarea, fixarea, tragerea si rotirea placilor de tabla
- NU ESTE PENTRU RIDICARE
- Potrivit pentru otel cu o duritate a suprafetei de pana la 30 HCR
- Fiecare produs este testat individual la 2 ori limita de incarcare de lucru, cu certificare
- Standard EN 13155 și ASME B30.20.

Model
Portanta cleste WLL
Greutate cleste
Deschidere bac A
[kg]
[kg]
[mm]
Cod produs
Model
:
IPSC-1.5
Portanta cleste WLL
[kg]
:
1500
Greutate cleste
[kg]
:
4.6
Deschidere bac A
[mm]
:
0 - 40
2703857
Model
:
IPSC-3.0
Portanta cleste WLL
[kg]
:
3000
Greutate cleste
[kg]
:
8.4
Deschidere bac A
[mm]
:
0 - 60
2703858