- Clesti IPSTARTEC11 pentru ridicarea, rotirea si transportul profilelor standard tip H si I
- Potriviti pentru rotire controlata, transport si stivuirea profilelor din pozitia H in pozitia I si invers
- Portanta WLL de 1500 kg si 2500 kg
- Lantul din otel al acestor clesti permite o inclinare de la -15° la 15°
- Produsul este echipat cu un sistem RFID


Model
Portanta cleste WLL
Greutate cleste
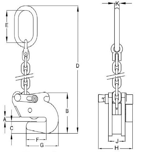
Deschidere bac A
[kg]
[kg]
[mm]
Cod produs
Model
:
IPSTARTEC11-1.5
Portanta cleste WLL
[kg]
:
1500
Greutate cleste
[kg]
:
6.6
Deschidere bac A
[mm]
:
6-12
2701812
Model
:
IPSTARTEC11-2.5
Portanta cleste WLL
[kg]
:
2500
Greutate cleste
[kg]
:
14.5
Deschidere bac A
[mm]
:
6-20
2701822