Placa alunecare autolubrificanta otel + SINT300 serie E50.42.

  • Produsele standardizate autolubrificante OMCR solutioneaza problemele de alunecare in masini, unelte de stantare si dispozitive 
  • Suporta sarcini mari, au o durata de viata lunga, necesita intretinere redusa si se pot monta usor
  • Suprafetele de alunecare au o rugozitate superficiala scazuta (Ra 0.8 / Rz 6.3) si fara colturi ascutite 
  • O ungere initiala cu grasime de litiu si ungerea periodica la fiecare ~100.000 de cicluri asigura o durata de viata mai lunga
  • Produsele constau dintr-un suport metalic pe care este aplicat un lubrifiant
  • In timpul alunecarii, lubrifiantul este eliberat si formeaza un film care reduce uzura la nivelul unei ungeri conventionale

figure 2.jpg

  • PRODUSE SINT300® autolubrificante
     • 
    Suport din otel, pe care este aplicat un strat de aprox. 2 mm grosime din material sinterizat  continand lubrifianti solizi (grafit si MoS₂) si lichizi
     • 
    Suprafata de contact din metal devine mai mare prin absenta insertiilor de grafit si efectul de auto-lubrifiere este imbunatatit semnificativ
     • Ofera performante mai bune decat produsele traditionale din bronz + grafit
     • Viteze mai mari, presiune specifica mai mare, valoare PV mai mare
     • 
    Interval de temperatura de functionare mai larg
     • Permit alunecarea in toate directiile cu acelasi efect 



           E5042_1.jpg                         E5042 AP.jpg                           E50.42 DT.jpg   




e52.42 note.jpg       APICTO.jpg      Proiectare.jpg


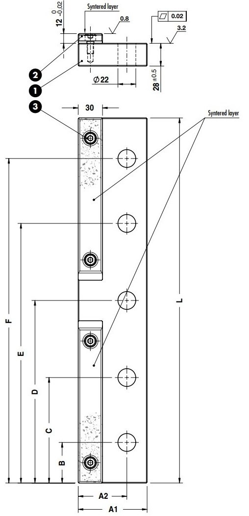
Pe pagina:  
Afisaj:  
Latime A1
Latime A2
Lungime L
Lungime B
Lungime C
Lungime D
Lungime E
Lungime F
[mm]
[mm]
[mm]
[mm]
[mm]
[mm]
[mm]
[mm]

Cod produs

 
Latime A1 [mm] :
85
Latime A2 [mm] :
60
Lungime L [mm] :
160
Lungime B [mm] :
45
Lungime C [mm] :
115
Lungime D [mm] :
--
Lungime E [mm] :
--
Lungime F [mm] :
--
E50.42.085160
buc.
Latime A1 [mm] :
85
Latime A2 [mm] :
60
Lungime L [mm] :
200
Lungime B [mm] :
45
Lungime C [mm] :
155
Lungime D [mm] :
--
Lungime E [mm] :
--
Lungime F [mm] :
--
E50.42.085200
buc.
Latime A1 [mm] :
85
Latime A2 [mm] :
60
Lungime L [mm] :
250
Lungime B [mm] :
45
Lungime C [mm] :
125
Lungime D [mm] :
205
Lungime E [mm] :
--
Lungime F [mm] :
--
E50.42.085250
buc.
Latime A1 [mm] :
85
Latime A2 [mm] :
60
Lungime L [mm] :
300
Lungime B [mm] :
45
Lungime C [mm] :
150
Lungime D [mm] :
255
Lungime E [mm] :
--
Lungime F [mm] :
--
E50.42.085300
buc.
Latime A1 [mm] :
85
Latime A2 [mm] :
60
Lungime L [mm] :
350
Lungime B [mm] :
45
Lungime C [mm] :
175
Lungime D [mm] :
305
Lungime E [mm] :
--
Lungime F [mm] :
--
E50.42.085350
buc.
Latime A1 [mm] :
85
Latime A2 [mm] :
60
Lungime L [mm] :
400
Lungime B [mm] :
45
Lungime C [mm] :
125
Lungime D [mm] :
200
Lungime E [mm] :
275
Lungime F [mm] :
355
E50.42.085400
buc.
Latime A1 [mm] :
85
Latime A2 [mm] :
60
Lungime L [mm] :
450
Lungime B [mm] :
45
Lungime C [mm] :
130
Lungime D [mm] :
225
Lungime E [mm] :
320
Lungime F [mm] :
400
E50.42.085450
buc.
Latime A1 [mm] :
85
Latime A2 [mm] :
60
Lungime L [mm] :
500
Lungime B [mm] :
45
Lungime C [mm] :
130
Lungime D [mm] :
250
Lungime E [mm] :
370
Lungime F [mm] :
450
E50.42.085500
buc.
Latime A1 [mm] :
125
Latime A2 [mm] :
75
Lungime L [mm] :
160
Lungime B [mm] :
45
Lungime C [mm] :
115
Lungime D [mm] :
--
Lungime E [mm] :
--
Lungime F [mm] :
--
E50.42.125160
buc.
Latime A1 [mm] :
125
Latime A2 [mm] :
75
Lungime L [mm] :
200
Lungime B [mm] :
45
Lungime C [mm] :
155
Lungime D [mm] :
--
Lungime E [mm] :
--
Lungime F [mm] :
--
E50.42.125200
buc.
Latime A1 [mm] :
125
Latime A2 [mm] :
75
Lungime L [mm] :
250
Lungime B [mm] :
45
Lungime C [mm] :
125
Lungime D [mm] :
205
Lungime E [mm] :
--
Lungime F [mm] :
--
E50.42.125250
buc.
Latime A1 [mm] :
125
Latime A2 [mm] :
75
Lungime L [mm] :
300
Lungime B [mm] :
45
Lungime C [mm] :
150
Lungime D [mm] :
255
Lungime E [mm] :
--
Lungime F [mm] :
--
E50.42.125300
buc.
Latime A1 [mm] :
125
Latime A2 [mm] :
75
Lungime L [mm] :
350
Lungime B [mm] :
45
Lungime C [mm] :
175
Lungime D [mm] :
305
Lungime E [mm] :
--
Lungime F [mm] :
--
E50.42.125350
buc.
Latime A1 [mm] :
125
Latime A2 [mm] :
75
Lungime L [mm] :
400
Lungime B [mm] :
45
Lungime C [mm] :
125
Lungime D [mm] :
200
Lungime E [mm] :
275
Lungime F [mm] :
355
E50.42.125400
buc.
Latime A1 [mm] :
125
Latime A2 [mm] :
75
Lungime L [mm] :
450
Lungime B [mm] :
45
Lungime C [mm] :
130
Lungime D [mm] :
225
Lungime E [mm] :
320
Lungime F [mm] :
400
E50.42.125450
buc.
Latime A1 [mm] :
125
Latime A2 [mm] :
75
Lungime L [mm] :
500
Lungime B [mm] :
45
Lungime C [mm] :
130
Lungime D [mm] :
250
Lungime E [mm] :
370
Lungime F [mm] :
450
E50.42.125500
buc.