Piuliţe moletate, plastic/bucșă din oțel | d1=M6 / oțel | 24820.0006

Cod produs: 24820.0006

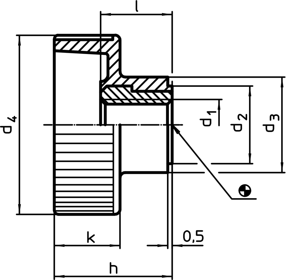
Piuliţe moletate, plastic/bucșă din oțel | d1=M6 / oțel | 24820.0006
Brand: ERWIN HALDER KG
Desen
Desen cu aplicație

Specificatii


d1=M6 / oțel
12 mm
14 mm
24 mm
16,5 mm
9,5 mm
10,5 mm
M6
80 °C
-30 °C
Oțel, zincat prin galvanizare
Termoplastic PA, negru
echipamente sportive, industria de agrement, mașini de încercare, finanțe, producție scule
ajustare, poziţionare, rotire, sigur
CE
7 g

Material

Bucşă

  • Oțel, zincat prin galvanizare

Mâner

  • Termoplastic PA, negru