Conexiune protectie conductor banc de lucru profil REXROTH
- Racord conductor de protectie pentru profil REXROTH canal 8 mm si canal 10 mm
- Pentru racordarea sigura a posturilor de lucru direct de la priza
- Set de racordare a cablului de protectie pentru structuri din profil de aluminiu
- Pentru conectarea în siguranta a unui racord PE in canelurile de profil Rexroth
- Material: Otel zincat
- Setul de livrare contine material de fixare penru canal 8 mm respectiv canal 10 mm

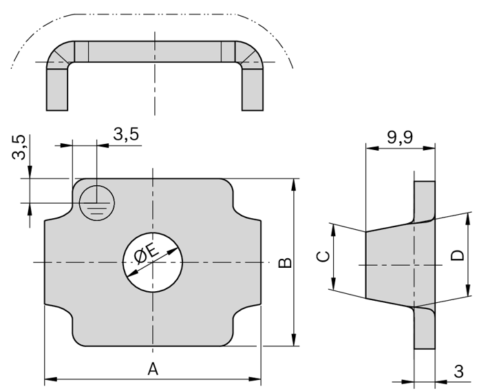
Denumire
produsCanal
profilDimensiune
ADimensiune
BDimensiune
CDimensiune
DSuprafata
SGreutate
DUnitate
impachetareCoc
comanda[mm] [mm] [mm] [mm] [mm] [mm²] [kg] [buc] Conector protectie canal 8 8 28.0 21,.0 7.5 9.3 60 0.03 1 3842564106 Conector protectie canal 10 10 31.0 24.0 9.5 12.0 100 0.04 1 3842564107