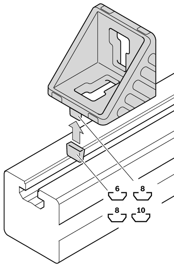
Coltar drept cu cioc 40x80 BOSCH REXROTH

  • Coltar cu cioc de centrare pentru montarea rapida, exacta si fara rotatie
  • Ciocurile de centrare se pot rupe cu usurinta pentru montarea pe profile de aluminiu BOSCH REXROTH 
  • Piesa intermediara pentru pozitionarea coltarilor in cea mai mare canelura alaturata
  • Capac de acoperire pentru evitarea muraririi disponibil în variantele gri (RAL 7004) și negru ESD (RAL 9005)
  • Nu este necesar prelucrarea profilelor


COLTAR DDD.png     COLTAR 20x20.png       COLTAR DREPT PICCC.png          PIESA INTERMEDIARA DT.png