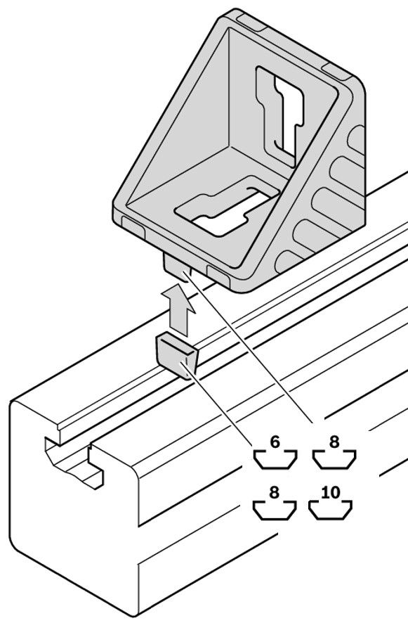
Coltar drept cu cioc 45x90 BOSCH REXROTH
- Coltar cu cioc de centrare pentru montarea rapida, exacta si fara rotatie
- Ciocurile de centrare se pot rupe cu usurinta pentru montarea pe profile de aluminiu BOSCH REXROTH
- Piesa intermediara pentru pozitionarea coltarilor in cea mai mare canelura alaturata
- Capac de acoperire pentru evitarea muraririi disponibil în variantele gri (RAL 7004) și negru ESD (RAL 9005)
- Nu este necesar prelucrarea profilurilor
