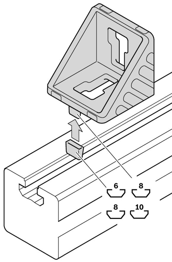
Piesa intermediara canal 6/8 BOSCH REXROTH
- Piesa intermediara pentru pozitonarea coltarilor în cea mai mare canelura alaturata
- Pentru coltare cu cioc
- Pentru profile aluminiu canal 6mm si 8mm
- Material PA (Poliamida)

Caracteristici ale produsului Denumire produs Piesa intermediara 6/8 Canal profil aluminiu [mm] 6 si 8 Culoare Negru ESD NU Unitate de ambalare [buc] 100 Material PA Greutate [kg] 0,01 Cod comanda 3842523516 