JavaScript is disabled in your browser which limits the functionality of the website. Please enable it to view page content and work with all website features
Skip to Main Content
Autentificare
|
Creare cont
Contact rapid
Română
English
Română
Soluții germane
pentru industrie
Back
Produse industriale
Accesorii roboti
Activarea, curatarea, tratarea suprafetelor cu plasma
Actuatori industrial
Adezivi industriali
Amortizor de impact
Amortizor de soc industrial
Amortizor de vibratii, izolator de vibratii
Amortizor din cauciuc, silicon si TPC
Aparat de legat banda cu baterie Signode BXT
Arc cu azot pentru stante si prese TECAPRES
Arcuri cu gaz
Arcuri industriale
Aspirator lichide industriale
Autonom transport sistem
Axe liniare
Balansier, Retractor, Echilibror de greutate
Banc de lucru
Baterii litiu-ion depozitare antifoc, transport
Carucior cu masa de ridicare Pfaff Silberblau
Carucior industrial
Celula robotizata mobila ZIMO
Cheie de tachelaj si stift cu autoblocare
Chingi de ancorare sarcini SpanSet
Chingi textile SpanSet Protectii chingi Secutex
Cilindrii pneumatici din INOX
Cleme de fixare si strangere DESTACO
Clesti de ridicare foi de tabla si profile
Coloana de ridicare
Conveioare antrenate
Conveioare gravitationale
Conveior cu banda transportatoare
Coroana rotativa - Rulment peridoc
Cremaliere liniare Leantechnik
Cricuri manuale cu cremaliera
Cuplaj electromagnetic Miki Pulley
Cuplaj mecanic elastic, rigid si de siguranta
Curatarea talpilor de pantofi si cizme
Curatator snec mase plastice
Cutii de depozitare si transport
Cuve retentie pliabile, Cuve dezinfectare
Dator matrite injectie
Demulant industrial
Depozitare antifoc materiale periculoase in container
Depozitare materiale periculoase
Depozitare si transport scule CNC
Descarcare electrostatica Ionizator industrial
Dispozitiv ridicare si manevrare sarcini grele
Dozare adeziv Hot Melt
Dozare adezivi
Dulap antifoc ASECOS
Dulap baterii litiu
Dulap de uscare si incalzire
Dulap metalic cu sertare
Dulap protectia mediului
Dulap si mobilier industrial
Dusuri oculare, dusuri decontaminare
Duza injectie, torpile, varf duza
EOAT End of Arm Roboting Tooling
Electroeroziune consumabile
Elemente autolubrificante de alunecare standardizate
Elemente standardizate constructii masini
Elemente standardizate industria aviatica
Elemente standardizate injectie
Elemente standardizate stantare
Filtre de aer, Cartuse filtrante aer
Filtre de praf, Cartuse filtrante praf
Filtre eliminare mirosuri cu carbon activ
Filtre gaze nocive, Sisteme filtrare gaze nocive
Filtre lichide industriale
Filtre protectie echipamente industriale VELUM
Frana electromagnetica
Frana ghidaj linear, Frana ghidaj bara rotunda
Furtunuri speciale
Grafit pentru industrie
Gripper pneumatic, electric, magnetic, greifer HRC
Handling si depozitare matrite si stante
Handling tehnology
Hidraulica industriala
Iluminat industrial LED
Indexor, masa rotativa cu indexare
LEAN produse optimizarea proceselor de productie
Magnet de ridicare
Magnet industrial
Manipulare role hartie si folie material plastic
Manipulare si depozitare role tabla si coil tabla
Marcaj pentru podele industriale
Masa hidraulica de ridicare
Masini prelucrari metalice
Menghine hidraulice de precizie
Mobilier industrial ESD
Module de miscare liniara
Module pivotante, rotative si unghiulare
Motor de frezare SPINDLE
Multicuplaje industriale
Oglinda industriala
Oglinda trafic rutier
Palane manuale, electrice, pneumatice, ATEX
Paleti din material plastic
Partener Certificat BOSCH REXROTH
Perii industriale
Pompe industriale
Preincalzitoare electrice pentru produse chimice
Produse Clean-Room
Produse ESD
Produse agrementate zona ATEX
Profile aluminiu si accesorii
Profile fibra carbon si accesorii
Protectia mediului
Protectia muncii
Protectie anticoliziune, Protectie la impact
Protectie antifoc
Protectie antitaiere chinga, Protectie lant si sufa ridicare
Protectie ghidaje masini unelte
Protectie lama stivuitor
Racorduri si cuplaje pentru furtunuri
Racorduri, cuplaje si coliere din INOX
Recuperator de caldura cu tub termic
Rezistenta electrica, termocupla
Rola cu motor 24 DC brushless PowerMoller
Role cu bila, Sina transfer cu bila
Role gravitationale, role angrenate si accesorii
Roti industriale
Scaune si tabureti uz industrial
Scule ATEX
Senzor ROLAND ELECTRONIC
Separator pneumatic, Cleste pneumatic
Sertar matrita stantare
Silicon industrial NOVOSIL
Sina cu role, cale de rulare
Sistem de prindere PUNCT ZERO
Sistem de reglare a inaltimii
Sistem montaj modular prelucrare CNC
Sisteme de avertizare
Sisteme schimbare rapida matrite
Stift asamblare cu bila autoblocanta
Tehnica de antrenare
Tehnologia UV
Tehnologia de sudura si de taiere cu laser
Tehnologia de vid
Tehnologia liniara Bosch Rexroth
Tehnologie de asamblare Clinching
Temperare matrite injectie mase plastice
Transpalet, transpalet cu ridicare
Transport energie sistem sina C
Transport sarcini sistem sina C
Trolii manuale si electrice
Ungere centralizata
Domenii de activitate
Automatizari industriale
Boddy Shop
Clean Room - Tehnology
Confectii metalice
Constructie de masini
Electrostatic Sensitive Device ESD
Industria aeronautica
Industria alimentara
Industria de mobila
Industria electronica
Industria farmaceutica si medicala
Industria prelucrarii carnii
Industria procesatoare de tabla si teava
Industria publicitara
Industria tipografica
Injectie aluminiu sub presiune
Injectie mase plastice
Prelucrari mecanice CNC
Presaj - Stantare
Productia anvelope, jante si roti
Productie si prelucrare de cablaje
Produse certificate ATEX
Sudura - Laser - Plasma
Vopsitorii - Paint shop
Reprezentante
Documentatie Produse
Distributie
Contact
Nu există liste de cerere ofertă
Set default Shopping List
Acasa
/
Produse industriale
/
Partener Certificat BOSCH REXROTH
/
Accesorii profil aluminiu BOSCH REXROTH
/
Elemente de imbinare profile aluminiu BOSCH REXROTH
/
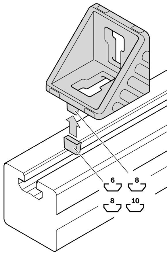
Piesa intermediara coltar drept BOSCH REXROTH
/
Piesa intermediara canal 8/10 BOSCH REXROTH
Piesa intermediara canal 8/10 BOSCH REXROTH
Piesa intermediara pentru pozitonarea coltarilor în cea mai mare canelura alaturata
Pentru coltare cu cioc
Pentru profile aluminiu canal
8 mm si 10 mm
Material PA (Poliamida)
Caracteristici ale produsului
Canal profil aluminiu [mm]
8 si 10
Culoare
Negru
Unitate de ambalaje [buc]
100
Material
PA
Greutate [kg]
0,01
Cod comanda
3842523537