Pompa ATEX de drenaj hidrocarburi electrica ID DERBY EX
- Pompa electrica submersibila de drenaj certificat ATEX pentru hidrocarburi
- Debit maxim de 45 m³/h (750 l/min)
- Inaltimea de pomparae maxima este de 15 m
- Pentru utilizarei in atmosfere potential explozive (zona 1 și zona 2) in conformitate cu Directiva 2014/34/UE
- Modelul ATEX DERBY PRO EX instalat in rezervoare, rezervoare colectoare, puturi si gropi de colectare
- Potrivit pentru pomparea levigatului din depozitele de deseuri, a apelor uzate industriale, a condensatelor de biogaz
- Potrivit pentru pomparea apei saline, manipularea lichidelor cu parti solide si filamente in suspensie
- Aplicarea in statii de epurare si remedierea siturilor contaminate

- Rotor deschis din fonta pentru a evita obstructia cauzata de noroi si alte corpuri mici de suspensie
- Piese din fonta tratata galvanic pentru cresterea rezistentei
- Carcasa motor din otel inoxidabil AISI 304
- Temperatura lichidului de pompat pana la 40 °C
- Garnitură NBR rezistenta la indoire si abraziune
- Racord furtun refulare 2″ filet interior
- Marcaj ATEX: CE 0722 Ex II 2G Ex eb h mb ob IIC T5 Gb
- Certificat pentru instalare în zona ATEX 1 si zona 2
Denumire produs |
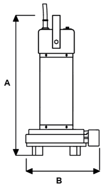
Inaltime pompa
A |
Latime pompa
B |
Greutate pompa
G |
Racord Filet interior
|
Putere motor
P |
Debit metrii cub |
Debit litrii |
Inaltime pompare
H |
Absorbtie curent 230V |
Absorbtie curent 400V
|
|
[mm] |
[mm] |
[kg] |
[inch] |
[kW] |
[m³/h] |
[l/min] |
[m] |
[A] |
[A] |
| Pompa ATEX ID DERBY EX 50 |
455 |
250 |
17.5 |
2" |
0.37 |
27 |
450 |
8.0 |
4.3 |
1.5 |
| Pompa ATEX ID DERBY EX 75 |
455 |
250 |
17.5 |
2" |
0.55 |
30 |
500 |
9.5 |
5.1 |
1.7 |
| Pompa ATEX ID DERBY EX 100 |
485 |
250 |
19.1 |
2" |
0.75 |
39 |
650 |
11.5 |
7.0 |
2.5 |
| Pompa ATEX ID DERBY EX 150 |
505 |
250 |
21.5 |
2" |
1.10 |
42 |
700 |
13.1 |
10.5 |
4.1 |
| Pompa ATEX ID DERBY EX 200 |
520 |
250 |
22.7 |
2" |
1.50 |
45 |
750 |
15.0 |
12.5 |
3.8 |
- Caracteristici motor
- Motor asincron cu 2 poli
- Turatie: 2850 1/min
- Frecventa: 50 Hz
- Protectie: IP 68
- Izolatie: clasa F
- Tensiune de functionare:
- monofazat 230V
- trifazat 400V
- Sarcina: S1 – S4 20 c/h distribuite uniform
- Motor electric umplut cu ulei
- Motor protejat de intrerupator termice rezistente la temperaturi de pana la 40 °C
Accesorii la cerere
- Panou de control
- Modul de alimentare ATEX
- Regulator de nivel ATEX cu cablu electric de lungime 5, 10 sau 20 m
- Indicator de nivel electronic ATEX
- Cablu rotund ID 4G1,5