Menghine multiple ‒ MS 125 | EH 1700.

Se pretează pentru:

  • Poate fi montată atât orizontal cât şi vertical - prin urmare, poate fi folosită pe CNC-uri atât verticale cât şi orizontale
  • Fixare convențională, este posibilă prindere tip gripper cât şi prindere de sus
  • MS 125-S - ideale pentru utilizarea pe mașini în cinci axe
  • Fixarea pieselor neprelucrate, tăieri neconvenționale prin penetrarea stratului călit, înlocuiește gripperele de pe piese
  • Cu ajutorul fălcilor, se pot fixa piese din diferite materiale, sau cu forme geometrice complexe, pot fi fixate foarte economic și sigur

Caracteristici produs:

  • Versatilitate mare - sistemul de fixare modular combină practic toate posibilitățile de îmbinare ale produselor noastre testate
  • Șurubul de înaltă presiune cu intensificator - forța de fixare rămâne constantă
  • Domeniu larg la fixarea sigură a pieselor neprelucrate
  • Compensare de poziție de 8 mm pentru fixare de sus, și 3 mm pentru fixare laterală
  • Strângerea cu o cheie clichet (max. 30 Nm) - acest lucru duce la posibilitatea lucrului deasupra dispozitivului fără obstacole

Pachetul conține:

  • 1 menghină de înaltă presiune fără bacuri
  • 1 set bride de fixare
  • 3 chei tubulare
  • 1 bit hexagonal pentru cheie de 3/8"

Va rugăm comandați separat bacurile.

Material

  • Fontă (GGG 60)
Pe pagina:  
Afisaj:  
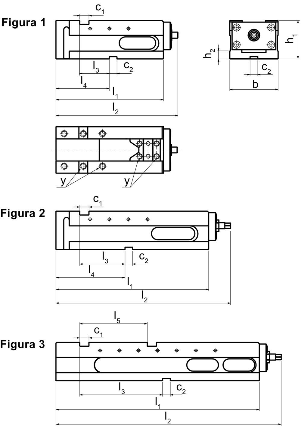
b
c1
c2
h1
h2
l1
l2
l3
l4
y
Moment străngere
Lățime bac
Forta
Greutate
l5
[mm]
[mm]
[mm]
[mm]
[mm]
[mm]
[mm]
[mm]
[mm]
[Nm]
[mm]
[kN]
[mm]

Cod produs

 
b [mm] :
126 mm
c1 [mm] :
24 mm
c2 [mm] :
20 mm
h1 [mm] :
100 mm
h2 [mm] :
21 mm
l1 [mm] :
530 mm
l2 [mm] :
587 mm
l3 [mm] :
216 mm
l4 [mm] :
-
y :
M12
Moment străngere [Nm] :
30 Nm
Lățime bac [mm] :
125 mm
Forta [kN] :
40 kN
Greutate :
38 kg
l5 [mm] :
176 mm
buc.
b [mm] :
126 mm
c1 [mm] :
24 mm
c2 [mm] :
20 mm
h1 [mm] :
100 mm
h2 [mm] :
21 mm
l1 [mm] :
398 mm
l2 [mm] :
455 mm
l3 [mm] :
118 mm
l4 [mm] :
180 mm
y :
M12
Moment străngere [Nm] :
30 Nm
Lățime bac [mm] :
125 mm
Forta [kN] :
40 kN
Greutate :
33 kg
l5 [mm] :
-
buc.
b [mm] :
126 mm
c1 [mm] :
24 mm
c2 [mm] :
20 mm
h1 [mm] :
100 mm
h2 [mm] :
21 mm
l1 [mm] :
280 mm
l2 [mm] :
318 mm
l3 [mm] :
77 mm
l4 [mm] :
139 mm
y :
M12
Moment străngere [Nm] :
30 Nm
Lățime bac [mm] :
125 mm
Forta [kN] :
40 kN
Greutate :
31 g
l5 [mm] :
-
buc.