Inele de pozitionare pentru bride rapide de fixare EH 23310.0348
Cod produs: 23310.0348
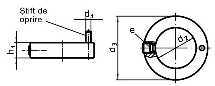
- Inel de pozitionare pentru bridele 23310.0040 - 23310.0045
- Dupa alinierea inelelor acestea sunt montate pe ax
- In cazul prinderilor repetate, prinderea va fi tot timpul in același punct
- Inelele de pozitionare se rotesc 360° pe clema
- Dupa montaj, clema se poate roti cu 110° in stanga sau dreapta (doar pentru varianta rotativa)
- Material: otel brunat
Specificatii
| h1=6 mm | |
| 6 mm | |
| 20 mm | |
| 32 mm | |
| Oțel, brunat | |
| 22760.0042 | |
| 32 | |
| 22 g |
